Технические особенности стандарта DIN 28403
Стандарт DIN 28403 регламентирует конструктивные параметры и эксплуатационные характеристики малых фланцевых соединений, спроектированных для вакуумных систем. Данное оборудование оптимизировано для работы в условиях как высокого, так и низкого вакуума, обеспечивая герметичность и надежность при перепадах давления до 1,5 бар.
Быстроразъемная архитектура фланцев по DIN 28403 от EV Group China позволяет существенно сократить время монтажа и обслуживания вакуумных магистралей. Технология допускает установку элементов в любой пространственной ориентации, что критически важно для интеграции в сложные технологические установки.
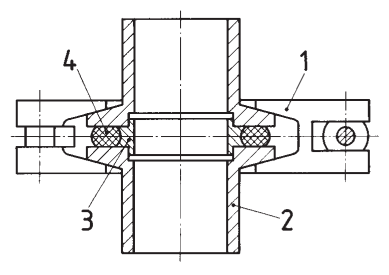
Фланцевое соединение форма А
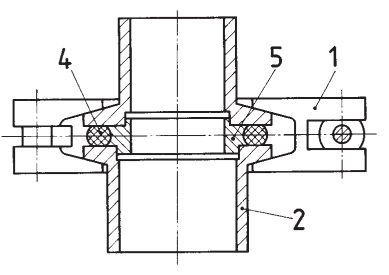
Переходное фланцевое соединение форма B

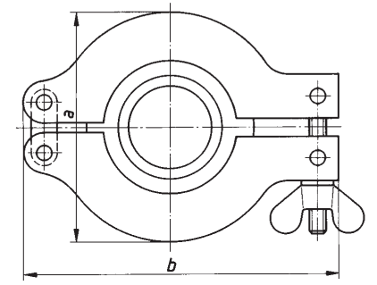
В состав стандартного узла быстроразъемного соединения согласно DIN 28403 входят:
- Стяжное кольцо (хомут);
- Фланцевые элементы;
- Центрирующее кольцо;
- Уплотнительное кольцо круглого сечения (эластомер);
- Переходные адаптеры для стыковки разнородных материалов труб.